登录
注册
退出
×
用户登录
用户名
密码
验证码
忘记密码?
登 录
还没有账号?
立即注册
|
繁體版
中央人民政府
新疆维吾尔自治区人民政府
新疆生产建设兵团
全站群
首 页
师市概况
领导之窗
政务公开
办事服务
政民互动
专题专栏
您的位置:
首页
>
专题专栏
>
热点专题
>
行政执法公示
>
住房和城乡建设局
>
事前公示
>
执法流程和执法程序
>
详细内容
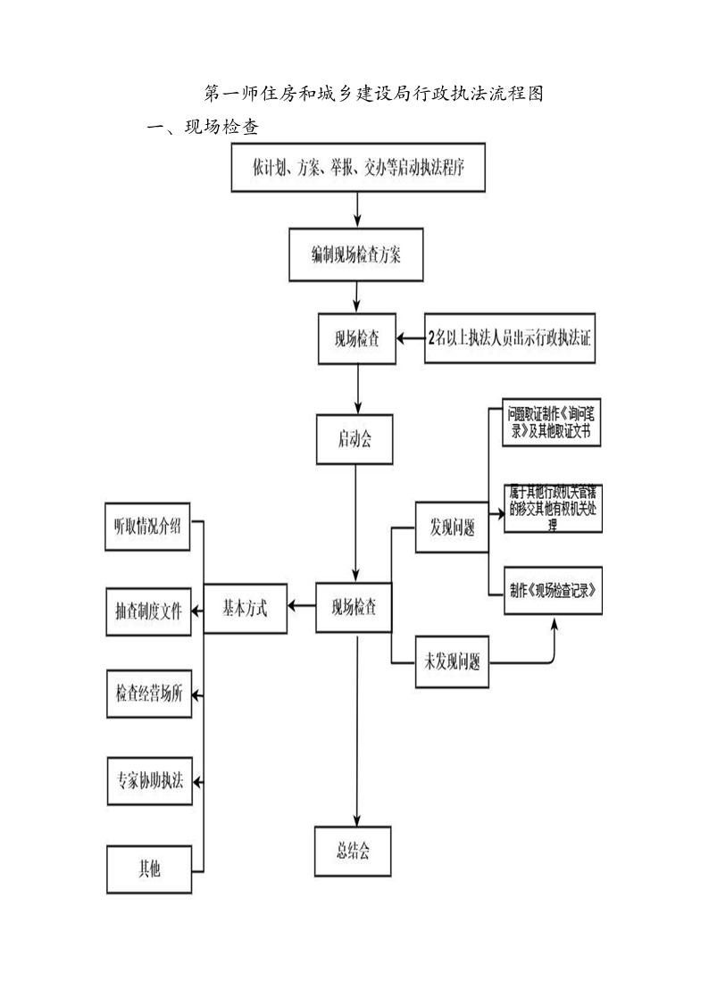
师市住建局行政执法流程图
来源:
发布时间:2025-11-23 18:25:08
浏览次数:
次
【字体:
小
大
】
终审:住房和城乡建设局
【打印正文】
手机版
用户登录
还没有账号?
立即注册